产品目录
桃色在线视频
液体流量计
桃色成人在线视频
油流量计
桃色视频入口
椭圆齿轮流量计
电磁流量计
涡街流量计
蒸汽流量计
孔板流量计
旋进旋涡流量计
热式气体质量流量计
转子流量计
浮子流量计
靶式流量计
气体流量计
超声波流量计
磁翻板液位计
浮子液位计
浮球液位计
玻璃管液位计
雷达液位计
超声波液位计
投入式液位计
压力变送器
差压变送器
液位变送器
温度变送器
热电偶
热电阻
双金属温度计
推荐产品
联系桃色APP直播软件
- 金湖桃色APP直播软件仪表有限公司
- 联系电话:15195518515
- 在线客服:1464856260
- 电话:0517-86801009
- 传真号码:0517-86801007
- 邮箱:1464856260@qq.com
- 网址:http://www.hdl-enamel.com
- 地址:江苏省金湖县理士大道61号
浮球液位计常见故障及解决方法
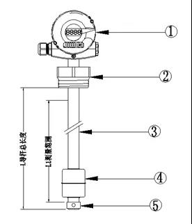
浮球液位计主要由表头、过程连接、导杆、浮球和锁紧环(如下图)五部分组成。其通过连接法兰安装于容器顶上。

根据阿基米德原理,当容器的液位变化时,浮球也随之上下浮动,又由于浮球具有磁性,浮球液位计的干簧管受磁性吸合,从而把对应的液位转换为电信号,再通过表头显示出液位的实际高低。
由于浮球液位计具有结构简单、长度能够根据工况要求按需定制,颇受用户欢迎,在食品加工、废水处理以及石油化工等行业的液位测量方面有着广泛应用。
尽管如此,实际应用中如果操作使用不当,浮球液位计也会出现一些故障。为帮助大家更好地使用浮球液位计,本文拟就浮球液位计的故障及处理介绍如下。
一般来讲,浮球液位计的故障比较常见的有指示异常、浮球被卡和受磁场干扰导致仪表出现误动作三种。
故障一 指示不正常
浮球液位计指示不正常,是浮球液位计非常常见的故障。通常有以下几种表现:
现象1、常压车间浮球液位计出现了指示*大的现象。
故障处理:通过检查发现浮球的配重在*低点,说明仪表的液面*高。现场玻璃板和仪表指示对不上,通常是仪表浮球脱落导致液面*高的假液位现象。此时,可通过停车检修更换浮球的办法进行处理。
现象2、芳烃罐区浮球液位计不随容器内的液位变化,一直指示*大。
故障处理:此时应检查浮球是否脱落,如脱落重新安装即可。
现象3、浮球液位计的指示偏低。
故障处理:出现上述故障现象,可能是浮球脱落、浮球连杆断裂、浮球转换机构损坏、浮球指针或表头损坏等原因导致。
如果按压仪表转换机构、浮球连杆转动灵活,指针和表头无障碍,这时应更换浮球连杆,如果仍不能排除故障,则应结合上述原因进行逐一排除。
现象4、浮球液位计突然无指示。
故障处理:如果测量回路电压无信号,一次元件电源*性没接反,电流转换部分无电流输出,则说明仪表表头损坏,应对浮球液位计仪表的表头进行更换。
故障二 受到磁场干扰
如果浮球液位计出现误动作现象,根据浮球液位计的工作原理分析,多半是由于受到磁场干扰所致。因为浮球液位计的浮球以及导杆均含有磁性物体,若受到应用环境中其他磁场干扰,会影响到仪表的正常工作,甚至导致仪表部件消磁情况的出现。
故障处理:请及时查看仪表及容器周边是否存在强烈磁场,并且确认被测液体中没有带磁性的杂质,如果有磁场存在,请及时予以清除,以避免浮球液位计因受到磁场干扰而出现异常。
故障三 浮球被卡住
浮球被卡住,通常是因为被测液体中含有杂质和污垢,时间一长,导杆便会渐渐结垢。若浮球被卡主不动,则会导致仪表无信号输出。
故障处理:如果出现浮球被卡住的故障,仪表人员应及时查看浮球的状态,检查导杆表面是否有水垢凝结,并尽快清理干净。尤其对于含有杂质的被测液体,仪表人员应对仪表导杆进行定期清理。
实践中,由于现场工况复杂、操作不当等原因,都可能导致浮球液位计出现一些其他故障,进而影响生产的正常进行。这时请及时检查电压、电流、负载是否异常,并认真阅读产品使用说明书,按照上面的要求进行规范操作。如故障仍不能排除,可向厂家技术人员咨询,如仍不能解决,应及时发回厂家进行维修处理。
其实,从一开始就认真阅读产品说明书,规范操作和维护,并养成定期检查和保养的习惯,功夫下在平时,就能大幅降低故障率的发生。

